Tapparelle MCA cassettone OUTBOX
Tapparelle MCA cassettone OUTBOX
I sistemi MCA OUTBOX sono la scelta ideale per usufruire dei vantaggi delle tapparelle, anche dopo che le finestre sono state gia montate. Il design dei due tipi di cassettoni resta in perfetta armonia con la facciata della casa e con i detagli di architettura.
Vantaggi
- Freschezza “naturale”: previene il riscaldamento eccessivo dell' ambiente interno durante i giorni torridi d'estate.
- Sistema di oscuramento: flessibilita nel dosaggio della luce naturale del giorno. Permette un riposo tranquillo anche di giorno.
- Sicurezza e protezione contro gli intrusi. I sistemi di comando elettrico possono essere programmati per aprirsi e chiudersi ad un determinato orario, simulando la presenza dei proprietari in casa.
- Intimita : proteggono dagli sguardi indiscreti. Utili sopratutto quando le finestre sono orientate verso la strada o verso un palazzo vicino.
- Isolamento acustico superiore
- Proteggono le finestre contro la pioggia, il forte vento e la grandine.
- Aiutano a prevenire lo scolorimento dei mobili ed a mantenere la vivacità del arredamento interno.
- Possono essere azionate manualmente o in modo elettrico col telecomando.
- i possono realizzare in diversi colori per essere in armonia con la facciata dell' edificio.
- Possono avere le zanzariere incluse.
- Prevengono le perdite della temperatura( caldo) interna durante l'inverno.
- Consumo di energia per il riscaldamento viene ridotto del 10% durante l'inverno.
Presentazione del funzionamento
-
Tapparella OUTBOX con zanzariera avvolgibile, cassettone marrone 45°, azionamento manuale con cinghia
-
Tapparella OUTBOX doppia, con zanzariera avvolgibile, cassettone marrone 45°, azionamento manuale con manivella o cinghia
-
Tapparella OUTBOX con zanzariera avvolgibile, cassettone marrone 45°, azionamento elettrico con telecomando
-
Tapparella OUTBOX con zanzariera avvolgibile, cassettone semirondo, azionamento manuale con cordone
-
Tapparella OUTBOX doppia, con zanzariera avvolgibile, cassettone semirondo, azionamento elettrico con telecomando o pulsante
-
Tapparella OUTBOX, con cassettone semirondo azionamento a molla, con serratura per blocco.
Azionamenti e accessori
Colori lamella 37mm
Colori lamella - 55mm
Dettagli tecnici di tapparelle esterno per finestre MCA
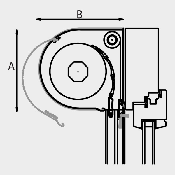
Tapparelle OUTBOX con cassettone 45°
| Lamella | Dimensione cassettone | Dimensione guide | Larghezza massima |
Altezza massima | Superficie massima | ||||
|---|---|---|---|---|---|---|---|---|---|
| 37mm | A | B | C | D | 2600mm | Cinghia | Manovella/ Molla/ Elettrico | Cinghia/Snur | Manovella/ Molla/ Elettrico |
| 138mm | 138mm | 22mm | 53mm - semplice 85mm - “H” |
1670mm | 1500mm | 2.5mp | 5mp | ||
| 150mm | 150mm | 2150mm | 2010mm | ||||||
| 165mm | 165mm | 2800mm | 2500mm | ||||||
| 180mm | 180mm | 3180mm | 2880mm | ||||||
| 205mm | 205mm | 3900mm | 3500mm | ||||||
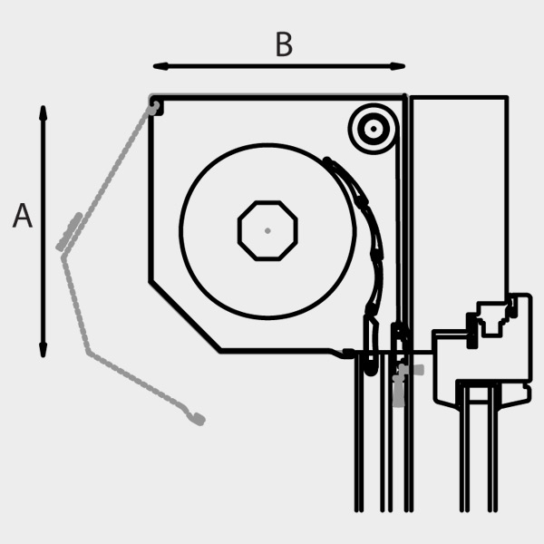
Tapparelle OUTBOX con cassettone 45° e con zanzariera avvolgibile
| Lamella | Dimensione cassettone | Dimensione guide | Larghezza massima |
Altezza massima | Superficie massima | ||||
|---|---|---|---|---|---|---|---|---|---|
| 37mm | A | B | C | D | 2600mm | Cinghia | Manovella/ Molla/ Elettrico | Cinghia/Snur | Manovella/ Molla/ Elettrico |
| 138mm | 138mm | 39mm | 53mm | 1100mm | 801mm | 2.5mp | 5mp | ||
| 150mm | 150mm | 1530mm | 1330mm | ||||||
| 165mm | 165mm | 2170mm | 1730mm | ||||||
| 180mm | 180mm | 2500mm | 2500mm | ||||||
| 205mm | 205mm | 2500mm | 2500mm | ||||||
Tapparelle OUTBOX con cassettone semirondo
| Lamella | Dimensione cassettone | Dimensione guide | Larghezza massima |
Altezza massima | Superficie massima | ||||
|---|---|---|---|---|---|---|---|---|---|
| 37mm | A | B | C | D | 2600mm | Cinghia | Manovella/ Molla/ Elettrico | Cinghia/Snur | Manovella/ Molla/ Elettrico |
| 138mm | 138mm | 22mm | 53 mm -semplice 85 mm - “H” |
1670mm | 1500mm | 2.5mp | 5mp | ||
| 165mm | 165mm | 2700mm | 2450mm | ||||||
| 180mm | 180mm | 3270mm | 3050mm | ||||||
Tapparelle OUTBOX con cassettone semirondo e con zanzariera avvolgibile
| Lamella | Dimensione cassettone | Dimensione guide | Larghezza massima |
Altezza massima | Superficie massima | ||||
|---|---|---|---|---|---|---|---|---|---|
| 37mm | A | B | C | D | 2600mm | Cinghia | Manovella/ Molla/ Elettrico | Cinghia/Snur | Manovella/ Molla/ Elettrico |
| 138mm | 138mm | 39mm | 53mm | 1100mm | 800mm | 2.5mp | 5mp | ||
| 165mm | 138mm | 2430mm | 2060mm | ||||||
| 180mm | 180mm | 250mm | 2060mm | ||||||
Tapparelle OUTBOX con cassettone 45°
| Lamella | Dimensione cassettone | senza zanzariera elettrico (pulsante o telecomando) |
||
|---|---|---|---|---|
| 55mm | A | B | Altezza massima | Superficie massima |
| 205mm | 205mm | 1920mm | 7mp | |
| 250mm | 250mm | 3380mm | 8mp | |
| 300mm | 300mm | 4300mm | 8mp | |
